恒温恒湿试验箱制冷系统专用氧气一乙炔气焊设备
气焊是一项专门技术,在工业上应用十分广泛,在电恒温恒湿试验箱及其他小型制冷与冷冻设备器具的维修中涉及铜管与铜管、铜管与钢管相焊接及铝件的焊修。所谓气焊,就是利用可燃气体和助燃气体混合点燃后产生的高温火焰束熔化两个被焊接件连接处的金属(或称钎料),使被熔化的金属自动汇集成一个共有的熔池(被熔化的金属池),并使它们的原子相互作用,在冷却凝固后形成一个不可分离的接头。在气焊中,一般采用乙炔或液化石油气作为可燃气体,用氧气作为助燃气体,并使两种气体在焊具中按一定比例混合燃烧形成高温火焰进行焊接。气焊设备主要由氧气瓶、乙炔瓶、焊炬、减压器等部分组成,另外还有氧气(乙炔)胶管、焊炬等,如图2.6所示。
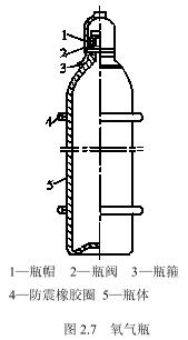
1.氧气瓶
1)结构
氧气瓶是储存和运输氧气的一种高压容器。常用气瓶的容积为40L,满瓶压力为
14.7MPa,可以储存氧气量6m3。氧气瓶的结构如图2.7所示,主要由瓶体、瓶帽箍等

组成。
瓶体通常是用优质碳素钢或低合金钢轧制成的无缝圆柱
形客器。瓶体外表涂天蓝色,并用黑漆注明“氧”字样。
2)使用氧气瓶注意事项
(1)氧气瓶必须直立放置且平稳可靠,不得与其他气瓶
混在一起,特别是严禁与可燃气体瓶或乙炔发生器放在一起。
(2)氧气瓶应离开焊割工作场地和其他火源5m以上;
离开暖气片、暖气管道等其他热源lm以上。夏季使用时要
严防烈日暴晒,冬季阀门冻结时,严禁火烤,应用热水解冻。
(3)氧气的通道禁止沾染油脂,尤其是在氧气瓶阀门处。
(4)使用氧气时,不得将瓶内氧气全部用完,最少应预
留0.1~0.3MPa的压力,以便在再装氧气时吹除灰尘和避兔
混进其他气体。
(5)氧气瓶外应套装防震橡胶圈,搬运时要轻装轻卸,
避兔撞击,严禁抛滑。
(6)在储存氧气瓶的房间内,氧气的体积浓度不得超过23%,以防发生火灾;检修
氧气瓶时,也必须在氧气浓度降到23%以下后方能开始工作。
2.乙炔瓶
1)乙炔瓶的结构
乙炔瓶是一种储存和运输乙炔的客器,外形和氧气瓶相似,但比氧气瓶略短,直径略
粗。其外表面涂白色漆,并用红漆标注“乙炔气瓶”、“不可近火”字样。
乙炔瓶的设计压力为3MPa,水压试验压力为6MPa,规格一般有25L、40L、50L、60L
等几种。目前我国生产的乙炔瓶客量一般为40L。
2)乙炔瓶阀
乙炔瓶阀是开闭乙炔气的阀门,乙炔瓶阀没有手轮,是利用方孔套筒扳手旋转阀杆上
端的方形头使活门开闭气门的。阀杆逆时针方向旋转,瓶阀开启;反之,关闭乙炔瓶阀。
进气口内装有过滤件;出气口处由于没有连接减压器的侧接头,因此必须使用带有夹环的
乙炔减压器。
3.焊炬
焊炬又称为焊枪,其构造如图2.8所示。它是气焊时用于控制气体混合比、流量、火
焰并进行焊接的工具。
常用射吸式焊炬的型号有H01-2和H01-6两种。
4。橡胶管
氧气的橡胶管应为黑色,乙炔的橡胶管应为红色。